Misturadora de lavatório eletrónica TEMPOMATIC MIX
Ref. 20464T1
Bica orientável H.165 L.160
Bica orientável H.165 L.160
DESCRIÇÃO
Misturadora de lavatório eletrónica TEMPOMATIC MIX
Ref. 20464T1Misturadora eletrónica de lavatório com bica alta orientável L.160 H.165.
Módulo eletrónico independente IP65.
Alimentação por pilhas 123 Lítio 6 V.
Débito pré-regulado a 4 l/min a 3 bar, ajustável de 1,5 a 6 l/min com quebra-jatos anticalcário adaptado para a colocação de um filtro terminal BIOFIL.
Corpo e bica com interior liso (reduz os nichos bacterianos).
Limpeza periódica parametrizável (pré-regulada a ̴ 60 segundos todas as 24h após a última utilização com a finalidade de evitar a estagnação na rede em caso de não utilização prolongada).
Possibilidade de realizar um choque térmico.
Detetor de presença infravermelhos antichoque.
Corpo e bica de latão maciço cromado com fixação reforçada por 2 pernos roscados em inox.
Regulação de temperatura por alavanca Higiene L.100.
Flexíveis PEX com filtros e eletroválvulas M3/8".
Segurança antibloqueio em posição aberta.
Eletroválvulas a montante da câmara de mistura.
Certificação NF Médical (França).
Garantia 30 anos.
Módulo eletrónico independente IP65.
Alimentação por pilhas 123 Lítio 6 V.
Débito pré-regulado a 4 l/min a 3 bar, ajustável de 1,5 a 6 l/min com quebra-jatos anticalcário adaptado para a colocação de um filtro terminal BIOFIL.
Corpo e bica com interior liso (reduz os nichos bacterianos).
Limpeza periódica parametrizável (pré-regulada a ̴ 60 segundos todas as 24h após a última utilização com a finalidade de evitar a estagnação na rede em caso de não utilização prolongada).
Possibilidade de realizar um choque térmico.
Detetor de presença infravermelhos antichoque.
Corpo e bica de latão maciço cromado com fixação reforçada por 2 pernos roscados em inox.
Regulação de temperatura por alavanca Higiene L.100.
Flexíveis PEX com filtros e eletroválvulas M3/8".
Segurança antibloqueio em posição aberta.
Eletroválvulas a montante da câmara de mistura.
Certificação NF Médical (França).
Garantia 30 anos.
PVP indicativo s/ IVA Portugal 2026: 520,14 €
VANTAGENS

Purga automática antiproliferação bacteriana

Corpo/bica com interior liso reduz as bactérias

Fracionamento utilização, débito pré-reg. 4 l/min

Deteção infravermelhos sem contacto manual
CARACTERÍSTICAS TÉCNICAS
Misturadora de lavatório eletrónica TEMPOMATIC MIX
Ref. 20464T1| Ligação | M3/8" |
| Tecnologia | Detetor de presença infravermelhos |
| Altura | 280 mm |
| Altura da saída | 165 mm |
| Comprimento da bica | 160 mm |
| Débito | 4 l/min |
| Acabamento | Latão cromado |
| Normas e certificações |
|
| Garantia | |
| Reparação | ![]() |
Peças de substituição
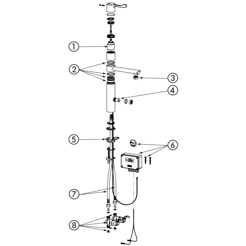
PEÇAS DE SUBSTITUIÇÃO
Misturadora de lavatório eletrónica TEMPOMATIC MIX
Ref. 20464T1
| 1. | N201AG75 |
|
Cartucho cerâmico sequencial Ø40 |
| 2. | 753256 |
|
Saco de juntas |
| 3. | 921024.2P |
|
Quebra-jatos estrela |
| 4. | CEL378V |
|
Sensor |
| 5. | 256P |
|
Placa de fixação |
| 6. | 495446BC |
|
Módulo eletrónico |
| 7. | 2510SES |
|
Kit de aperto |
| 8. | FLEXPEX3 |
|
Ligações flexíveis PEXF3/8" |
| 9. | 495606 |
|
Eletroválvula |
VERSÕES
| 20871T1 | Alimentação corrente - Bica removível descartável - H.160 L.180 | 459,03 € s/ IVA | |
|---|---|---|---|
| 20870T1 | Alimentação corrente - Bica removível inox - H.160 L.183 | 532,05 € s/ IVA | |
| 20164T1 | Alimentação corrente - Bica orientável não removível H.165 L.160 | 459,03 € s/ IVA |
VERSÕES
| 20871T1 | Alimentação corrente - Bica removível descartável - H.160 L.180 | 459,03 € s/ IVA | |
|---|---|---|---|
| 20870T1 | Alimentação corrente - Bica removível inox - H.160 L.183 | 532,05 € s/ IVA | |
| 20164T1 | Alimentação corrente - Bica orientável não removível H.165 L.160 | 459,03 € s/ IVA |
